Buick Encore: Repair instructions
CLUTCH PEDAL REPLACEMENT
NOTE: The clutch pedal is part of the brake, accelerator, and
clutch pedal assembly
and cannot be serviced separately.
To replace the brake, accelerator and clutch pedal assembly, refer to Brake,
Accelerator, and Clutch Pedal
Replacement .
CLUTCH MASTER CYLINDER RESERVOIR HOSE REPLACEMENT
Removal Procedure
- Remove the battery tray. Refer to Battery Tray Replacement .
.gif)
Fig. 1: BPMV Bracket Assembly
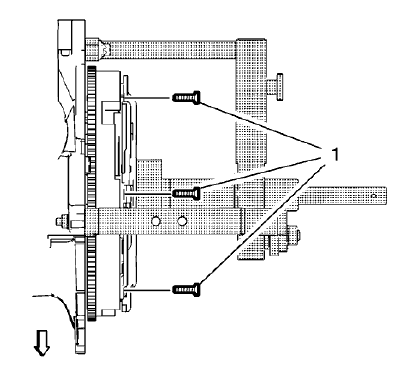
- Remove the clutch actuator cylinder pipe retainer (1).
- Remove the 3 BPMV bracket assembly nuts (2) and loosen the BPMV bracket
assembly (3) from the
vehicle.
.gif)
Fig. 2: Clutch Master Cylinder Reservoir Hose
NOTE: Before disconnecting the reservoir tank hose, remove the
clutch/brake
fluid from the reservoir tank.
- Remove the clutch master cylinder reservoir hose (1) from the reservoir
tank.
- Remove the clutch master cylinder reservoir hose from the clutch master
cylinder.
Installation Procedure
.gif)
Fig. 3: Clutch Master Cylinder Reservoir Hose
- Install the clutch master cylinder reservoir hose (1) to the reservoir
tank and the master cylinder.
.gif)
Fig. 4: BPMV Bracket Assembly
CAUTION: Refer to Fastener Caution .
- Install the 3 BPMV bracket assembly nuts (2) to the vehicle and tighten
to 17 (12 lb ft).
- Install the clutch actuator cylinder pipe retainer (1).
- Bleed the hydraulic clutch system. Refer to Hydraulic Clutch System
Bleeding.
- Install the battery tray. Refer to Battery Tray Replacement .
- Fill the reservoir with GM approved brake fluid from a clean, sealed
brake fluid container up to the MAX
level.
Clutch master cylinder replacement
Removal Procedure
- Remove the battery tray. Refer to Battery Tray Replacement
.gif)
Fig. 5: Clutch Actuator Cylinder Front Pipe
- Unclip the clutch actuator cylinder front pipe from the 2 retainers (1).
.gif)
Fig. 6: BPMV Bracket Assembly
- Remove the clutch actuator cylinder pipe retainer (1).
- Remove the 3 BPMV bracket assembly nuts (2) and loosen the BPMV bracket
assembly (3) from the
vehicle.
.gif)
Fig. 7: Clutch Actuator Cylinder Front Pipe
NOTE: Before disconnecting the clutch actuator cylinder front pipe,
remove the
clutch/brake fluid from the reservoir tank.
- Remove the retaining clip (1).
- Disconnect the clutch actuator cylinder front pipe (2) from the clutch
master cylinder.
- Remove the clutch master cylinder reservoir hose (3) from the master
cylinder. Refer to Clutch Master
Cylinder Reservoir Hose Replacement.
- Remove the brake pedal assembly. Refer to Brake, Accelerator, and Clutch
Pedal Replacement .
.gif)
Fig. 8: Clutch Pedal Push Rod Retainer
NOTE: Press the 2 latches (arrows) together.
- Disconnect the push rod retainer (1) from the clutch pedal.
.gif)
Fig. 9: Clutch Master Cylinder And Mount
- Remove the 2 clutch master cylinder mount fasteners (1).
- Remove the clutch master cylinder (2) from the brake pedal assembly
Installation Procedure
.gif)
Fig. 10: Clutch Master Cylinder And Mount
- Install the clutch master cylinder (2) into the brake pedal assembly.
CAUTION: Refer to Fastener Caution .
- Install the 2 clutch master cylinder mount fasteners (1) and tighten to
4.5 (40 lb in).
.gif)
Fig. 11: Clutch Pedal Push Rod Retainer
NOTE: An audible click will be heard when the clip is correctly
seated.
- Connect the push rod retainer (1) to the clutch pedal.
- Install the brake pedal assembly. Refer to Brake, Accelerator, and
Clutch Pedal Replacement .
.gif)
Fig. 12: Clutch Actuator Cylinder Front Pipe
- Connect the clutch actuator cylinder front pipe (2) to the clutch master
cylinder.
- Install the retaining clip (1).
- Install the clutch master cylinder reservoir hose (3) to the master
cylinder. Refer to Clutch Master
Cylinder Reservoir Hose Replacement.
.gif)
Fig. 13: BPMV Bracket Assembly
- Install the 3 BPMV bracket assembly nuts (2) to the vehicle and tighten
to 17 (12 lb ft).
- Install the clutch actuator cylinder pipe retainer (1).
.gif)
Fig. 14: Clutch Actuator Cylinder Front Pipe
- Clip the clutch actuator cylinder front pipe (2) into the 2 retainers
(1).
- Bleed the hydraulic clutch system. Refer to Hydraulic Clutch System
Bleeding.
- Install the battery tray. Refer to Battery Tray Replacement .
- Fill the reservoir with GM approved brake fluid from a clean, sealed
brake fluid container up to the MAX
level.
Clutch actuator cylinder front pipe replacement
Removal Procedure
- Remove the battery tray. Refer to Battery Tray Replacement .
.gif)
Fig. 15: Clutch Actuator Cylinder Front Pipe
- Unclip the clutch actuator cylinder front pipe from the 2 retainers (1).
.gif)
Fig. 16: BPMV Bracket Assembly
- Remove the clutch actuator cylinder pipe retainer (1).
- Remove the 3 BPMV bracket assembly nets (2) and loosen the BPMV bracket
assembly (3) from the
vehicle.
.gif)
Fig. 17: Clutch Actuator Cylinder Front Pipe
NOTE: Before disconnecting the clutch actuator cylinder front pipe,
remove the
clutch/brake fluid from the reservoir tank.
- Remove the retaining clip (1).
- Disconnect clutch actuator cylinder front pipe (3) from the clutch
master cylinder (2).
.gif)
Fig. 18: Clutch Actuator Cylinder Front Pipe Retainer
- Remove the retaining clip (1).
- Disconnect the clutch actuator cylinder front pipe (2) from the clutch
actuator cylinder pipe elbow.
- Remove the clutch actuator cylinder front pipe from the vehicle.
Installation Procedure
- Install the clutch actuator cylinder front pipe in the vehicle.
.gif)
Fig. 19: Clutch Actuator Cylinder Front Pipe Retainer
- Connect the clutch actuator cylinder front pipe (2) to the clutch
actuator cylinder pipe elbow.
- Install the retaining clip (1).
.gif)
Fig. 20: Clutch Actuator Cylinder Front Pipe
- Connect clutch actuator cylinder front pipe (3) to the clutch master
cylinder (2).
- Install the retaining clip (1).
.gif)
Fig. 21: BPMV Bracket Assembly
CAUTION: Refer to Fastener Caution .
- Install the 3 BPMV bracket assembly nuts (2) to the vehicle and tighten
to 17 (12 lb ft).
- Install the clutch actuator cylinder pipe retainer (1).
.gif)
Fig. 22: Clutch Actuator Cylinder Front Pipe
- Clip the clutch actuator cylinder front pipe into the 2 retainers (1).
- Bleed the hydraulic clutch system. Refer to Hydraulic Clutch System
Bleeding.
- Install the battery tray. Refer to Battery Tray Replacement .
- Fill the reservoir with GM approved brake fluid from a clean, sealed
brake fluid container up to the MAX
level.
Clutch actuator cylinder pipe replacement (D16)
Removal Procedure
- Remove the transmission. Refer to Transmission Replacement .
.gif)
Fig. 23: Actuator Cylinder Pipe Connector Elbow And Clip
- Remove the clutch actuator cylinder pipe connector elbow clip (1) from
the clutch actuator elbow.
- Remove the connector elbow (2) from the clutch actuator cylinder pipe
end.
NOTE: Release the fastening sleeve key (arrows) using a screwdriver
or
equivalent to remove the fastening sleeve.
- Remove the fastening sleeve (3) from the transmission housing and clutch
actuator cylinder pipe.
.gif)
Fig. 24: Clutch Actuator Cylinder And Bolts
- Remove the clutch actuator cylinder pipe clip (1).
- Remove the 3 clutch actuator cylinder bolts (2).
.gif)
Fig. 25: Clutch Actuator Cylinder And Pipe
- Remove the clutch actuator cylinder (1) and the clutch actuator cylinder
pipe (2) at the same time.
NOTE: Discard the clutch actuator cylinder seal.
- Remove the seal (3).
Installation Procedure
- Clean the 3 clutch actuator cylinder threaded holes in the transmission
housing.
.gif)
Fig. 26: Clutch Actuator Cylinder And Pipe
- Install a NEW clutch actuator cylinder seal (3).
- Install the clutch actuator cylinder (1) and clutch actuator cylinder
pipe (2).
.gif)
Fig. 27: Clutch Actuator Cylinder And Bolts
CAUTION: Refer to Fastener Caution .
- Install the 3 clutch actuator cylinder bolts (2) and tighten to 8 (71 lb
in).
- Install the clutch actuator cylinder pipe clip (1).
.gif)
Fig. 28: Actuator Cylinder Pipe Connector Elbow And Clip
- Install the fastening sleeve (3) to the transmission housing and clutch
actuator cylinder pipe.
- Install the clutch actuator cylinder pipe connector elbow (2) to the
clutch actuator cylinder pipe end.
- Install the connector elbow clip (1).
- Install the transmission. Refer to Transmission Replacement
CLUTCH ACTUATOR CYLINDER PIPE REPLACEMENT (M20/M32)
Removal Procedure
- Remove the transmission. Refer to Transmission Replacement .
.gif)
Fig. 29: Clutch Actuator Cylinder Pipe Connector Elbow, Clip And Fastening
Sleeve
- Remove the clutch actuator cylinder pipe connector elbow clip (1) from
the clutch actuator elbow.
- Remove the connector elbow (2) from the clutch actuator cylinder pipe
end.
NOTE: Release the fastening sleeve key (arrows) using a screwdriver
or
equivalent to remove the fastening sleeve.
- Remove the fastening sleeve (3) from the transmission housing and clutch
actuator cylinder pipe.
.gif)
Fig. 30: Clutch Actuator Cylinder Bolts
- Remove the 3 clutch actuator cylinder bolts (1).
.gif)
Fig. 31: Clutch Actuator Cylinder, Pipe And Seal
- Remove the clutch actuator cylinder (1) and the clutch actuator cylinder
pipe (2) at the same time.
NOTE: Discard the clutch actuator cylinder seal.
- Remove the seal (3).
Installation Procedure
- Clean the 3 clutch actuator cylinder threaded holes in the transmission
housing.
.gif)
Fig. 32: Clutch Actuator Cylinder, Pipe And Seal
- Install a NEW clutch actuator cylinder seal (3).
- Install the clutch actuator cylinder (1) and clutch actuator cylinder
pipe (2).
.gif)
Fig. 33: Clutch Actuator Cylinder Bolts
CAUTION: Refer to Fastener Caution .
- Install the 3 clutch actuator cylinder bolts (1) and tighten to 6 (53 lb
in).
.gif)
Fig. 34: Clutch Actuator Cylinder Pipe Connector Elbow, Clip And Fastening
Sleeve
- Install the fastening sleeve (3) to the transmission housing and clutch
actuator cylinder pipe.
- Install the clutch actuator cylinder pipe connector elbow (2) to the
clutch actuator cylinder pipe end.
- Install the connector elbow clip (1).
- Install the transmission. Refer to Transmission Replacement .
Hydraulic clutch system bleeding
WARNING: Refer to Brake Fluid Irritant Warning .
CAUTION: Brake fluid must not come in contact with mineral oils and
greases. The
smallest amount of such could lead to malfunction or breakdown of the
clutch.
CAUTION: Refer to Brake Fluid Effects on Paint and Electrical
Components Caution .
NOTE: The hydraulic clutch actuation must only be bled from "below",
i.e. from the
bleeder valve.
.gif)
Fig. 35: valve cap
NOTE: The following operational stages must be undertaken to fill
the pressure
line between the master cylinder and the clutch actuator cylinder. When
bleeding, ensure that the brake fluid reservoir is always full and does not
run dry.
- Bleed pressure line between the clutch master cylinder and the clutch
actuator cylinder using the
following procedure:
- Remove the valve cap (3) from the bleeder valve.
- Fill brake fluid reservoir up to "MAX" marking.
- Press and hold clutch pedal.
- Open bleeder valve until air or air/brake fluid mixture emerges.
NOTE: Do not close the bleeder valve too fast.
- Close the bleeder valve.
- Release the clutch pedal slowly.
- Wait approximately 5 seconds.
- Repeat this bleeding process 4 times.
- Tighten bleeder valve .
- Push valve cap on to bleeder valve to protect the bleeder valve.
- Check shifting for ease of movement with vehicle stationary, with engine
running and with clutch
disengaged.
- Ensure that the fluid reservoir is at the correct level.
- Road test the vehicle to ensure proper operation.
Undertake road test using varying RPM ranges and frequent gear changes, bring
vehicle to operating
temperature during this process. Ensure the brake and clutch system is operating
correctly.
CLUTCH PEDAL POSITION SENSOR REPLACEMENT
Removal Procedure
- Remove the instrument panel knee bolster. Refer to Instrument Panel Knee
Bolster Replacement
(Encore) , Instrument Panel Knee Bolster Replacement (Encore) .
.gif)
Fig. 36: Clutch Pedal Position Sensor And Bolt
- Remove the clutch pedal position sensor bolt (2).
- Remove the clutch pedal position sensor (1).
- Disconnect the clutch pedal position sensor wiring harness connector.
Installation Procedure
.gif)
Fig. 37: Clutch Pedal Position Sensor And Bolt
- Connect the clutch pedal position sensor wiring harness connector.
- Install the clutch pedal position sensor (1).
CAUTION: Refer to Fastener Caution .
- Install the clutch pedal position sensor bolt (2) and tighten to 3 (27
lb in).
- Install the instrument panel knee bolster. Refer to Instrument Panel
Knee Bolster Replacement
(Encore) , Instrument Panel Knee Bolster Replacement (Encore) .
- Learn clutch pedal position sensor.
CLUTCH PRESSURE AND DRIVEN PLATE REPLACEMENT (1.4L)
Special Tools
- DT-6263 Remover/Installer Kit
- DT-6263-28 Clutch Center Guide
- EN-652 Flywheel Holder
For equivalent regional tools, refer to Special Tools.
Removal Procedure
NOTE:
- To prevent damage to the spring fangs of pressure plate use DT-6263
remover/installer to remove and install clutch pressure plate.
- Note the different lengths of the brackets for attaching DT-6263
remover/installer to lower engine block.
- Remove the transmission. Refer to Transmission Replacement
.gif)
Fig. 38: Flywheel Holder Tool
- Install the EN-652 holder (1) to the engine block.
.gif)
Fig. 39: Special Engine Block Brace Tool
- Attach the DT-6263 remover/installer (1) in conjunction with the
DT-6263-1 brace to the engine block.
- Install the 4 bolts (arrows) to the engine block, but do not tighten yet.
.gif)
Fig. 40: Special Tools
- Attach the DT-6263-28 guide to the DT-6263-30 drift (4).
- Fasten the DT-6263 remover/installer.
- Align the DT-6263-30 centering drift (2) in conjunction with the clutch
center guide through the
DT-6263 remover/installer into the clutch driven plate and crankshaft center
(arrow).
- Tighten the knurled wheel (1).
- Tighten the bolt (3).
- Tighten the 4 bolts installing the DT-6263 remover/installer to the
engine block.
.gif)
Fig. 41: Clutch Removal/Installation Tool
- Preload the clutch springs, using the DT-6263 remover/installer.
- Turn the threaded rod (1) until it rests against the spring tangs of the
clutch pressure plate.
- Measure the distance a.
NOTE: Do NOT turn further than necessary to gain free movement of
the
clutch disc.
- Turn the threaded rod clockwise until the distance a is extended by
approximate 8 mm (0.31 in).
- Check for free movement of the clutch disc.
.gif)
Fig. 42: Clutch Pressure Plate Bolts
NOTE: Ascertain if bolt was assembled with thread lock agent.
- Remove and DISCARD the 6 clutch pressure plate bolts (1).
.gif)
Fig. 43: Special Remover/Installer Tools
- Release the DT-6263 remover/installer (2).
- Turn the threaded rod (1) of the DT-6263 remover/installer
counterclockwise to the stop.
- Remove the DT-6263-30 centering drift (3) in conjunction with the clutch
center guide (arrow).
.gif)
Fig. 44: Clutch Pressure Plate And Driven Plate
- Remove the clutch pressure plate (1) and the driven plate (2).
.gif)
Fig. 45: Clutch Pressure Plate And Driven Plate Inspection Points
NOTE: Clutch pressure plate and driven plate contaminated by
foreign bodies (oil,
cleaning agent etc.) have to be replaced. Check clutch driven plate for
damage and friction rust in the hub profile and replace if necessary. Do
not clean clutch pressure plate and driven plate with a high pressure
cleaner or component washing machine.
- Inspect the clutch pressure plate and the driven plate (1) and replace,
if necessary.
Inspect for:
- Excessive wear
- Burned friction surface
- Oil on friction surface
- Damaged spline hub
- Damaged springs
NOTE: The clutch driven plate has to be replaced if the lining
projection is less
than 0.5 mm (0.020 in) (arrows).
- Inspect the projection of lining at the clutch lining rivets.
- Slide the clutch pressure plate onto the transmission input shaft and
check for easy movement.
Installation Procedure
.gif)
Fig. 46: Clutch Drive Plate
NOTE: The clutch drive plate must be installed so that the German
lettering
"Getriebe-seite" (means Gearbox-side) on the plate is orientated towards
the transmission.
- Install the clutch driven plate (3) and the clutch pressure plate (2).
Center the clutch driven plate, using the DT-6263-30 centering drift (1) in
conjunction with the clutch
center guide.
.gif)
Fig. 47: Preload The Clutch Springs Using Special Tools
NOTE: Do NOT turn further than necessary.
- Preload the clutch springs, using the DT-6263 remover/installer (2).
Turn the threaded rod (1) clockwise until the pressure plate contacts the
flywheel (arrows).
.gif)
Fig. 48: Clutch Pressure Plate Bolts
CAUTION: Refer to Fastener Caution .
NOTE: In the case that the clutch pressure plate bolts where
assembled with
thread lock agent: Service may offer bolts that are not microencapsulated.
If this is the case apply thread lock agent to the bolt. If fastener is
microencapsulated, install NEW clutch pressure plate bolts. DO NOT reuse
the old bolt.
- Install the 6 NEW clutch pressure plate bolts (1). For the correct bolts
refer to the electronic parts catalog.
- Tighten the clutch pressure plate bolts to 28 (21 lb ft).
.gif)
Fig. 49: Special Remover/Installer Tools
- Remove the DT-6263 remover/installer (2) from the engine block.
- Turn the threaded rod (1) of the DT-6263 remover/installer
counterclockwise to the stop.
- Remove the DT-6263-30 centering drift (3) in conjunction with the clutch
center guide (arrow).
- Remove the 4 bolts installing the DT-6263 remover/installer to the
engine block.
.gif)
Fig. 50: Flywheel Holder Tool
- Remove the EN-652 holder (1) from the engine block.
- Install the transmission. Refer to Transmission Replacement .
Clutch pressure and driven plate replacement (1.6L AND
1.8L)
Special Tools
- DT-6263 Remover/Installer Kit
- DT-6263-32 Clutch Center Guide
- EN-652 Flywheel Holder
For equivalent regional tools, refer to Special Tools.
Removal Procedure
NOTE:
- To prevent damage to the spring fangs of pressure plate use the
DT-6263
remover/installer to remove and install the clutch pressure plate.
- Note the different lengths of the brackets for attaching the DT-6263
remover/installer to the lower engine block.
- Remove the transmission. Refer to Transmission Replacement .
.gif)
Fig. 51: Flywheel Holding Tool
- Install the EN-652 holder (1) to the engine block.
.gif)
Fig. 52: Engine Support Brace
- Attach the DT-6263 remover/installer (1) in conjunction with the
DT-6263-1 brace to the engine block.
- Install the 4 bolts (arrows) to the engine block, but do not tighten yet.
.gif)
Fig. 53: Center Guide And Drift
- Attach the DT-6263-32 guide (5) to the DT-6263-30 drift (4).
- Fasten the DT-6263 remover/installer.
- Align the DT-6263-30 centering drift (2) in conjunction with the clutch
center guide through the
DT-6263 remover/installer into the clutch pressure plate and the crankshaft
center (arrow).
- Tighten the knurled wheel (1).
- Tighten the bolt (3).
- Tighten the 4 bolts installing the DT-6263 remover/installer to the
engine block.
.gif)
Fig. 54: Measuring Distance "a"
- Preload the clutch springs, using the DT-6263 remover/installer.
- Turn the threaded rod (1) until it rests against the spring tangs of the
clutch pressure plate.
- Measure the distance a.
NOTE: DO NOT turn further than necessary to gain free movement of
the
clutch disc.
- Turn the threaded rod clockwise until the distance a is extended by
approximate 8 mm (0.31 lb in).
- Check for free movement of the clutch disc.
.gif)
Fig. 55: Clutch Pressure Plate Bolts
NOTE: Ascertain if bolt was assembled with thread lock agent.
- Remove and DISCARD the 6 clutch pressure plate bolts (1).
.gif)
Fig. 56: Centering Drift And Clutch Center Guide
- Release the DT-6263 remover/installer (2).
- Turn the threaded rod (1) of the DT-6263 remover/installer
counterclockwise to the stop.
- Remove the DT-6263-30 centering drift (3) in conjunction with the clutch
center guide (arrow).
.gif)
Fig. 57: Clutch Pressure Plate And Driven Plate
- Remove the clutch pressure plate (1) and the driven plate (2).
.gif)
Fig. 58: Clutch Pressure Plate And Driven Plate Inspection Points
NOTE: Clutch pressure plate and driven plate contaminated by
foreign bodies (oil,
cleaning agent etc.) have to be replaced. Check the clutch driven plate for
damage and friction rust in the hub profile and replace it if necessary. DO
NOT clean the clutch pressure plate and the driven plate with a high
pressure cleaner or component washing machine.
- Inspect the clutch pressure plate and the driven plate (1) and replace
it, if necessary.
Inspect for:
- Excessive wear
- Burned friction surface
- Oil on friction surface
- Damaged spline hub
- Damaged springs
NOTE: The clutch driven plate has to be replaced if the lining
projection is less
than 0.5 mm (0.020 in) (arrows).
- Inspect the projection of the lining at the clutch lining rivets.
- Slide the clutch pressure plate onto the transmission input shaft and
check for easy movement.
Installation Procedure
.gif)
Fig. 59: Installing Bolts To Correct Site
NOTE: The clutch driven plate must be installed so that the German
lettering
"Getriebe-seite" (means Gearbox-side) on the plate is orientated towards
the transmission.
- Install the clutch driven plate (3) and the clutch pressure plate (2).
Center the clutch driven plate, using the DT-6263-30 centering drift (1) in
conjunction with the clutch
center guide.
.gif)
Fig. 60: Preloading Clutch Springs Using Special Tool
NOTE: DO NOT turn further than necessary.
- Preload the clutch springs, using the DT-6263 remover/installer (2).
Turn the threaded rod (1) clockwise until flywheel and pressure plate align (arrows).
.gif)
Fig. 61: Clutch Pressure Plate Bolts
CAUTION: Refer to Fastener Caution .
NOTE: In the case that the clutch pressure plate bolts where
assembled with
thread lock agent: Service may offer bolts that are not microencapsulated.
If this is the case apply thread lock agent to the bolt. If the fastener is
microencapsulated, install NEW clutch pressure plate bolts. DO NOT reuse
the old bolts.
- Install the 6 NEW clutch pressure plate bolts (1). For the correct bolts
refer to the electronic parts catalog.
- Tighten the clutch pressure plate bolts to 15 (11 lb ft).
.gif)
Fig. 62: Centering Drift And Clutch Center Guide
- Remove the DT-6263 remover/installer (2) from the engine block.
- Turn the threaded rod (1) of the DT-6263 remover/installer
counterclockwise to the stop.
- Remove the DT-6263-30 centering drift (3) in conjunction with the clutch
center guide (arrow).
- Remove the 4 bolts installing the DT-6263 remover/installer to the
engine block.
.gif)
Fig. 63: Flywheel Holding Tool
- Remove the EN-652 holder (1) from the engine block.
- Install the transmission. Refer to Transmission Replacement .
Clutch actuator cylinder replacement (D16)
Removal Procedure
- Remove the transmission. Refer to Transmission Replacement
.gif)
Fig. 64: Actuator Cylinder Pipe Connector Elbow And Clip
- Remove the clutch actuator cylinder pipe connector elbow clip (1) from
the clutch actuator elbow.
- Remove the connector elbow (2) from the clutch actuator cylinder pipe
end.
NOTE: Release the fastening sleeve key (arrows) using a screwdriver
or
equivalent to remove the fastening sleeve.
- Remove the fastening sleeve (3) from the transmission housing and clutch
actuator cylinder pipe.
.gif)
Fig. 65: Clutch Actuator Cylinder And Bolts
- Remove the clutch actuator cylinder pipe clip (1).
- Remove the 3 clutch actuator cylinder bolts (2).
.gif)
Fig. 66: Clutch Actuator Cylinder And Pipe
- Remove the clutch actuator cylinder (1) and the clutch actuator cylinder
pipe (2) at the same time.
NOTE: Discard the clutch actuator cylinder seal.
- Remove the seal (3).
Installation Procedure
- Clean the 3 clutch actuator cylinder threaded holes in the transmission
housing.
.gif)
Fig. 67: Clutch Actuator Cylinder And Pipe
- Install a NEW clutch actuator cylinder seal (3).
- Install the clutch actuator cylinder (1) and clutch actuator cylinder
pipe (2).
.gif)
Fig. 68: Clutch Actuator Cylinder And Bolts
CAUTION: Refer to Fastener Caution .
- Install the 3 clutch actuator cylinder bolts (2) and tighten to 8 (71 lb
in).
- Install the clutch actuator cylinder pipe clip (1).
.gif)
Fig. 69: Actuator Cylinder Pipe Connector Elbow And Clip
- Install the fastening sleeve (3) to the transmission housing and clutch
actuator cylinder pipe.
- Install the clutch actuator cylinder pipe connector elbow (2) to the
clutch actuator cylinder pipe end.
- Install the connector elbow clip (1).
- Install the transmission. Refer to Transmission Replacement
Clutch actuator cylinder replacement (M20/M32)
Removal Procedure
- Remove the transmission. Refer to Transmission Replacement
.gif)
Fig. 70: Clutch Actuator Cylinder Pipe Connector Elbow, Clip And Fastening
Sleeve
- Remove the clutch actuator cylinder pipe connector elbow clip (1) from
the clutch actuator elbow.
- Remove the connector elbow (2) from the clutch actuator cylinder pipe
end.
NOTE: Release the fastening sleeve key (arrows) using a
screwdriver or
equivalent to remove the fastening sleeve.
- Remove the fastening sleeve (3) from the transmission housing and clutch
actuator cylinder pipe.
.gif)
Fig. 71: Clutch Actuator Cylinder Bolts
- Remove the 3 clutch actuator cylinder bolts (1).
.gif)
Fig. 72: Clutch Actuator Cylinder, Pipe And Seal
- Remove the clutch actuator cylinder (1) and the clutch actuator cylinder
pipe (2) at the same time.
NOTE: Discard the clutch actuator cylinder seal.
- Remove the seal (3).
Installation Procedure
- Clean the 3 clutch actuator cylinder threaded holes in the transmission
housing.
.gif)
Fig. 73: Clutch Actuator Cylinder, Pipe And Seal
- Install a NEW clutch actuator cylinder seal (3).
- Install the clutch actuator cylinder (1) and clutch actuator cylinder
pipe (2).
.gif)
Fig. 74: Clutch Actuator Cylinder Bolts
CAUTION: Refer to Fastener Caution .
- Install the 3 clutch actuator cylinder bolts (1) and tighten to 6 (53 lb
in).
.gif)
Fig. 75: Clutch Actuator Cylinder Pipe Connector Elbow, Clip And Fastening
Sleeve
- Install the fastening sleeve (3) to the transmission housing and clutch
actuator cylinder pipe.
- Install the clutch actuator cylinder pipe connector elbow (2) to the
clutch actuator cylinder pipe end.
- Install the connector elbow clip (1).
- Install the transmission. Refer to Transmission Replacement .
READ NEXT:
CLUTCH SYSTEM DESCRIPTION AND OPERATION
Clutch Spin Down Time
Inspect the clutch spin down time as follows:
Apply the parking brake and block the vehicle wheels.
Shift the manual transmission into
SHIFT LOCK CONTROL WIRING SCHEMATICS (ENCORE)
Shift Lock Control System
Fig. 1: Shift Lock Control System
SHIFT LOCK CONTROL WIRING SCHEMATICS (Encore)
Shift Lock Control System
Fig. 2: Shift Lock
SEE MORE:
Warning
If a floor mat is the wrong size or
is not properly installed, it can
interfere with the pedals.
Interference with the pedals can
cause unintended acceleration
and/or increased stopping
distance which can cause a crash
and injury. Make sure the floor
mat does not interfere with the
pedals.
To clean, use a terry cloth fabric
dampened with water. Wipe droplets
left behind with a clean dry cloth.
If necessary, use a commercial
glass cleaner after cleaning with
plain water.
Caution
To prevent scratching, never use
abrasive cleaners on automotive
glass. Abrasive cleaners or
aggressive cle